Billy True’s One Man Band
A Most Innovative Conntraption
from the research archives and saxophone collection of Paul Cohen
Billy True was truly one of a kind. A saxophonist, innovator and inventor who pushed the limits of what one person could do with Conn saxophones, playing 3 saxophones at once in perfect 3-part harmony. Billy would say to emcees introducing him just before he was about to perform, “I play saxophones”, always placing the emphasis on ‘phones’. Billy spent over five years designing, building, patenting and learning how to play the most unique saxophone setup in the history of the instrument.
Billy started out as a professional musician/saxophonist in the Vaudeville days of the 1920s. He performed, toured and composed many original tunes that he performed along with popular songs of the day. He later on joined the Wheeling Steel Company (perhaps a family tradition) as a shift in profession, although continuing to perform as a professional musician as well.
In 1997, Dr. Paul Cohen (saxophonist, composer, collector, educator and historian) wrote a an article in The Saxophone Journal detailing the history of Billy True and his invention. We have posted the original article in our Guest Conntributions section, here. Paul has since acquired Billy True’s saxophone setup, along with photos and audio of Billy. As a follow-up to the original article, Paul Cohen and Connsortia proudly present our very first “Conncentration on a Horn – Billy True’s Marvelous Conntraption”.
A combination of complex saxophone modifications and foot pedal controls attached to the saxophones via wires allowed Billy to realize his dream of being a one-man saxophone section. He made the modifications to two Conn 8M C Melody and one Conn 6M alto saxophones himself, designed the pedalboard foot controls and linkages to the modified saxophone lever mechanisims, and mounted the horns to a stand he could sit behind to play. Although Conn did not help him with any of the modifications, they did buff, gold plate and custom engrave all three horns after Billy’s modifications were complete. Conn also built Billy a custom case that held all three saxophones, mouthpieces and reeds. Billy customized another case to store the saxophone stand, pedalboard and stool.
Paul Cohen shares here how he came to learn about and ultimately aquire Billy True’s one-of-a-kind, one-man saxophone section…
Pedal to the Mettle
Paul Cohen
Of the many unique items in my saxophone collection, Billy True’s One Man Saxophone Section is my most cherished – and most improbable – acquisition. It was a gradual process that took over 20 years to accomplish.
During my graduate school days of the late 1970s and 1980s, I would spend an inordinate amount of time at the New York Public Library Research Division and the Library of Congress in Washington DC, learning about the history of the saxophone. I also began purchasing my own original historical documents by attending ephemera fairs and conventions which were quite common at the time. This was before the internet and web sites (as we know them), before eBay, and at the dawn of workable personal computers. An era hard to comprehend today.
My research was divided into different categories:
- History of the saxophone and instrument manufacturers
- Unknown or forgotten music for the saxophone
- Careers of saxophone performers
- Performing groups that used the saxophone
Most of my library research involved reading thousands of newspaper clippings, articles, trade magazines, catalogues, brochures, publicity flyers, and much more. In a timeframe spanning the late 1930s – 1940s I came across a few references to a Billy True and his One-Man Saxophone Section. These included performances at the Conn Company NY store and radio broadcasts on popular nationwide radio shows. Little was mentioned of his background, except that he was from Steubenville, Ohio.
In the early 1990s, while on the faculties of Baldwin-Wallace College (now Baldwin-Wallace University) and later the Oberlin College Conservatory, I was able to expand my research efforts to take advantage of local history. I interviewed surviving members of the Sousa saxophone section, wrote about the Cleveland-based King Instrument company, chronicled/notated the remarkable guest saxophone appearances that took place at Baldwin-Wallace, Oberlin and in Cleveland decades earlier, and learned about the rich band history of Northeastern Ohio. But I never forgot Steubenville.
I was commuting between Cleveland and New York City during this time, as I was performing a lot in New York and I also began to actively perform in Cleveland with the Blossom Festival Band, the Red Orchestra, Cleveland Symphonic Winds records, Ohio Chamber Orchestra, Cleveland Ballet, etc. I often would drive out to Cleveland at the beginning of the semester and fly back and forth till the holiday break. But I never forgot Steubenville.
On a pre-internet whim, I called Steubenville information to ask for any addresses and phone numbers for the name True. Yes, it was 50 years since the last reference I had, but sometimes family ties run deep. On the third number called, Billy True’s grandson answered the phone. He knew all about his grandfather and had carefully preserved his instruments, documents and recordings. He could not believe that someone outside of his family knew about his grandfather and was stunned that there would be such interest. I was invited to his house.
On one of my trips back from Cleveland to New York I took the 70-mile detour from Route 80 at Youngstown down to Steubenville. Situated 40 miles due west on historical US Rt. 22 from Pittsburg, Steubenville was a center for steel production for over 120 years. Located along a 30-mile stretch of the Ohio River from Weirton in the north to Wheeling in the south, it was flanked by mills and associated support industries up and down the Ohio River. Steubenville was the home to nearly 40,000 people at its peak in 1940 at the time Billy True was both working for Wheeling Steel and actively concertizing with his One-Man Saxophone Section.
I was warmly greeted by Michael True, Billy True’s grandson, at his home in Steubenville. I was given full access to the two suitcases; one contained all three saxes, the other held the stool and pedalboard. I examined and took pictures but did not assemble the One-Man Saxophone Section or play any of the instruments. Accompanying the instruments was a giant photo of Billy in performance, as well as a series of 16-inch glass-based transcription records of numerous radio broadcasts in which Billy True was featured. Michael True was thrilled that there was such interest in his grandfather’s musical legacy; a legacy that combined such special musical skills with design and technical ingenuity. The instruments were to stay with him, but he graciously allowed me to borrow the fragile transcription discs to be converted to digital files back in NYC. All the audio files heard on the CONNsortia web site are from these discs.
After the holidays, on my way back to Cleveland, I returned the discs with a cassette copy for Michael True. A few months later (1997) the Saxophone Journal published my article as one of my “Vintage Saxophones Revisited” columns (reprinted for readability on the CONNsortia web site here). Michael and his family were thrilled to receive a copy of the article and to see so much interest in Billy True’s legacy.
Nineteen years later (!!), in 2015, Michael contacted me. He had retired, moved to Kentucky, and was ready to find an appropriate home for his grandfather’s instruments. He remembered me after all these years and inquired about my interest. The interest was high! I assured him that I was interested in preserving – in a public setting – the instruments and history and that they would become a prominent part of my public collection. These instruments would not be resold. He was excited and relieved. A few weeks later my wife Jeannie and I drove to a town some 50 miles south of Lexington and were once again warmly greeted. I purchased/collected all of Billy True’s materials; four instruments (including a C tenor prototype that was an experimental horn for his modifications), the pedalboard and stool, accessories, pictures, cases, and more transcription discs. A real treasure trove of Americana and saxophone history.
Radio Broadcasts
The two recordings here are from radio broadcasts sponsored by Palmolive Shave Cream and showcase Billy, airing from New York City.
All the broadcasts presented here originally aired in the late 1930s through early 1940s.
Billy True played over 200 theaters and niteclubs, along with being a guest on many coast to coast radio shows including Kate Smith, Hobby Lobby and others. He played with a variety of orchestras as well including ones led by Ferdey Grofe’ (at the World’s Fair in NYC), Rude Valle, and Tommy Christian along with many more.
“It’s Wheeling Steel” Radio Broadcasts
Presented here are 4 very rare recordings of Billy True. The first two are Billy True along with the Wheeling Steel Musical Steelmakers Band on the “It’s Wheeling Steel” radio broadcasts.
The clip “A New Kind Of Pipe Fitter” features not only Billy True’s performance but an extened portion of the “It’s Wheeling Steel” radio broadcast featuring the Wheeling Steel Musical Steelmakers band.
John Grimes, Wheeling Steel’s advertising director conceived the half-hour variety program as a way to promote the company’s products and public relations. The program debuted over WWVA on November 8, 1936. Wheeling Steel highlighted many employees & their family memebers as talent on the program. The Wheeling Steel Musical Steelmakers band consisted of various employees as well.
Billy True worked as a pipe fitter for Wheeling Steel during this time period, which is also the when he conceived, built and perfected his three-saxophone invention, He was therefore a natural fit for the home-grown, corporate-family oriented program.
Before winding up its series of 327 broadcasts on June 18, 1944, “It’s Wheeling Steel” had been picked up by the NBC network and was carried on 120 radio stations. The show played a significant role in supporting the war effort with war bond concerts including the “Buy a Bomber” program, from West Virginia University’s Field House in Morgantown. It ultimately became the fifth most popular radio show on NBC. The show finished in its prime and only ceased its broadcasts because of the ill health of John Grimes, the guiding light behind the show.
Paul reflects below on assembling the setup for the very first time…
Billy True Assembly Party
Paul Cohen
Months after I had acquired the Billy True instruments, I began to redesign my display area to allow a prominent place for their set-up and close examination by students, colleagues and visitors. It would be a daunting task to remove the instruments, stool and pedalboard from their cases (perhaps for the first time in 50 years!) and regulate and assemble them into a functional, playable set. It would require the mind of a technician, soul of a musician and skills of a professional instrumentalist to recreate Billy True’s One Man Saxophone Section for a 21st century audience.
The answer was to throw a Billy True Party. In August of 2016 I invited many of my saxophone colleagues – some were repair technicians, some mechanically inclined, and others who were naturally inquisitive and wonderful players – for an afternoon of high-spirited assembly, good humor and very focused and patient work. An inspired crew of Charles Gray, Alex Gray, Gregory Fassuliotis, Mike Delia, Oliver Santana, and Ray Kelly attended and partied hard.
The instruments were completely intact, but the pedalboard was out of adjustment and many of the pull wires were loose, missing, or broken. Some pads on the saxes had deteriorated, the mechanisms were stiff and needed lubrication and adjustment, and the neck corks needed assistance. The elaborate customized mechanisms on the saxophones had to be scrutinized and solved. Figuring out the attachment of the instruments to the custom stand, as well as the wire pattern from the foot pedal to the middle saxophone with only the big publicity picture as a guide was an iconographic riddle of formidable proportions (the team did not have the original patent, shown below). As you will see from the pictures and video, the tasked party team was intrepid, inspired, and filled with curiosity and considerable awe. They were brilliant at working through the literal maze of wires and mechanisms, custom-modified saxophones, saxophone attachments and hundreds of logistical details to recreate Billy True’s One Man Saxophone Section. And now, through the kindness and interest of CONNsortia, Billy True is available for all to hear, to learn and to enjoy.
How Billy Did It – An Inside Look at His Invention
John Eaton
The Setup & Alto
What started as a half-joking challange from his wife, suggesting that he play both his saxophones at the same time, became a saxophone setup like no other and still stands as the only one-man playable saxophone section known to exist. The design of Billy’s setup is at on one hand mechanically complex and intricate, however, as with all good inventions, relies on simple and proven ideas and principles. Levers, pulleys, springs and mechanical advantage principles all wrapped in Billy’s pure genius. The following section shows in detail how Billy’s invention was designed, constructed, and used.
The left side saxophone, an alto controlled by the left hand, had no modifications made to it. Altissimo fingerings aside, this limits the playable notes on this alto to notes that can normally be played using only the left hand from high F to upper G, and from middle D to lower G. When transposed to concert C (to align with the other two C melody saxophones), from high G# to upper Bb, and from middle F to middle Bb.
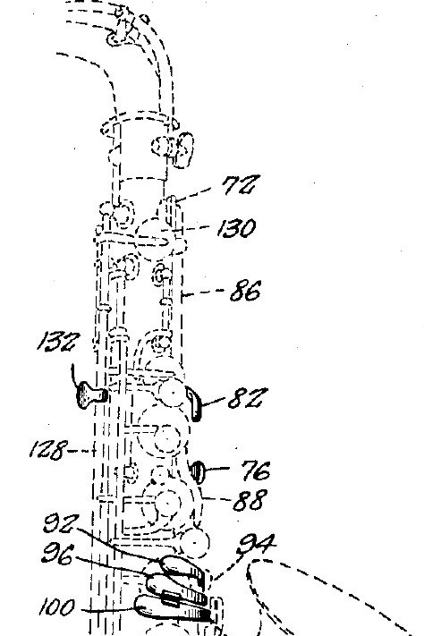
Right hand C melody
The right side saxophone, a c melody, had several modifications made directly to it to allow for a wider range of single-handed playable notes. Three levers were added to the palm keys in order to operate them from the right hand.
Lever 76 and pearl were added to the normal high D arm allow for opening high D.
Lever 82 and pearl were added to the underside of the normal high Eb arm to allow for opening Eb. However, lever 82 was extended across the top of the high D arm so that it also opened high D at the same time, allowing a single finger to open high Eb.
Lever 84 was added to the side of the high F arm which runs under the normal high Eb arm. When high F is opened using the normal high F palm key arm, lever 84 opens high Eb, which in turn also opens high D via lever 82.
Lever 132 and pearl were attached to the side high E key shaft, around the same height as the octave key, allowing for thumb articulation of this note.
These arrangements move the operation of these keys from the left palm and right hand in the typical lower position on the sax to the right hand on the upper portion of the saxophone. Further, it allows for single finger right hand actuation of high F, Eb & D, and a two-finger actuation of high E, all with the right hand.
Lever 92 and pearl were added to the G# key in order to allow for right hand operation. The key pearl is positioned just below the G key pearl.
In order to voice notes below G, with the right hand in the upper position on the sax, modifications were made to the low C# and B keys, and converted these keys to actuating low F and E.
Lever 96 and a roller key were added to the underside of the normal low C# key. Lever 116 was added to the low C# key shaft, along with lever 114 being added to the normal low F key shaft, allowing for closure of low E with the normal low C# key.
Lever 100 was added to the underside of the normal low B key. Lever 124 was added to the low B key shaft, along with lever 122 being added to the normal low E key shaft, allowing for closure of low E with the normal low B key.
Middle C melody
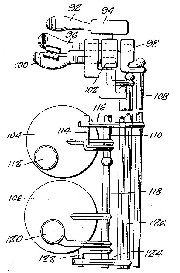
The middle C melody saxophone is controlled only by the pedalboard at the base of the saxophone stand and is operated by both feet.
On the upper stack, keys B, A & G, which are normally open, have been modified to normally closed by reversing the spring action. Each key then has an arm (162, 160 & 164 respectively) attached to the key cup. The far end of each arm has a notch where the pull line is looped through.
On the lower stack, keys F, E &D have been modified with arms similar to the upper stack, again notched to accommodate pull lines. These keys remain normally open.
A similar setup was applied to actuate the G# key, however, the arm for this key is connected to its rotating shaft vs. the key cup. The pull wire utilizes the low Bb key guard as an additional axial direction change point for the pull wire.
The octave key mechanism was reversed so that a pulling action on the octave key was needed to actuate the key vs. the standard pushing action. A hook was soldered onto the octave key and a pull wire was then looped around the hook (note slight difference from patented design).
All the pull wires were then routed through grooved pulleys and travel through individual eyelets on a plate mounted near the bottom of the saxophone. From there, the pull lines travel down to the pedalboard which forms the base of the stand.
Middle C melody pedalboard
The base of the 3-saxophone stand is a pedalboard consisting of eight (8) foot pedals, 4 controlled by each foot. The pedals are all connected to the middle C melody saxophone to allow for hands free playing of the third saxophone, another C melody.
The pedals control the following notes on this saxophone, (middle left photo, clockwise from bottom left to bottom right): B, A, F, G#, E, D, G & the octave key.
Each pull line coming from above meets its respective pull lines coming below just above the pedalboard. The lines from above are connected to a hook attached to the end of a threaded rod. The lines from below are connected to a threaded ‘swivel’ that can be moved up and down the threaded rod to adjust tension over time.
The pull lines then travel through the pedalboard via eyelets in a second plate. Underneath the pedalboard, the pull lines are connected to levers that are connected to their respective operating pedals. These levers have proper tensioning set via springs and axial transfer of force is done via bends and pulleys.
When disassembled, the pedalboard pull wires & tensioning bolts were attached to a removable plate and bolted to the top of the pedalboard (photo below).
You may notice electrical wiring on the underside of the pedalboard. This wiring was for microphones for each saxophone and runs up the main tube support to connection points on the front of the stand behind each saxophone.
Pedalboard note actuation
The pedals are all hand labelled with notes representing the keys that they are attached to (I have added highlighted notes to the photo on the right for easy viewing). However, some of the labels do not always indicate the key that is actuated. In order to replicate multiple keys being actuated by two hands with five fingers by two feet, cross arms and linkages on the underside of the pedalboard were devised to maximize the range of available notes, resulting in some pedals actuating multiple keys simultaneously.
The first thing to keep in mind is that the note produced on this saxophone when no keys are articulated is not C# like a normal saxophone. Since the upper stack B, A & G key’s springs are reversed, the note played with no key/pedal actuation is G. This must be kept in mind to understand the pedalboard operation. The following are the pedal actuations to generate the playable notes on this saxophone, starting with middle C:
Playable range
The following table shows all the playable notes available to Billy through his invention across each saxophone in his setup. The table is shown in concert pitch.
Billy’s mechanical aptitude clearly shines through with the very thoughtful way all the modifications were made to maximize the available notes to play across all three saxophones. But that is only the beginning of Billy’s vast talents. Once built, he also had to learn to play each saxophone differently than the others. No two saxophones could produce the same note with the same motion. To further complicate things, all hands and feet had to do different things at the same time, in perfect unison. Of course Billy also needed to learn how to get good sound and tone control in different registiers, while simultaneously blowing through all three instruments at once to produce the three-part harmony he sought to achieve. Might as well have asked him to throw a no-hitter in every game.
His brilliance lies not only in the invention, but in his ability to perform, which is solidified by the audio recording examples above. From hearing his first notes, a smile will inevitably cross your face. His performances are pure joy, with a whole lot of brilliance and passion behind them that most people never knew the depths of, until now.
Billy Trew’s (True’s) Patent US 2,232,151
Application Date November 10, 1938
Grant Date February 18, 1941
Mouthpieces
Billy used a matching set of Frank L. Kaspar “Superb” metal mouthpieces. All three mouthpieces have a tip opening designation of “3”, out of a range believed to be from 1-4. Two other additional mouthpieces were found in Billy’s case, presumably backups. The case itself had an area designed to hold up to 6 mouthpieces on individual stands.
Engraving Technique
John Eaton
Aside from the elaborate modifications Billy made to these saxophones, there are several other things which make these saxophones even more amazing. First, take a close look at the engraving, and you will notice the 3-pentagon window surrounding Lady M. The engraving pattern found on these 6 & 8Ms was only offered for gold plated horns, and was eventually reserved for silver plated 26 & 30Ms only. These are the only gold plated “Naked Lady” 8M saxophones known to exist. The two C Melody saxophones (left & center) are sequential serial numbers, however, take note of the distinctly different engravings, particularily around the 3-pentagon pattern, and Lady M herself. Side-by-side one can easily see these were done by different engravers. Can you tell who the better engraver was?
If you look closer at the engraving, you will notice that all the engraved lines are brighter than what can be typically seen on the gold plated horns in our galleries. What you are seeing is the the underlying silver plate vs. the typical darker lines of engravings that go all the way to the base brass. According to Jaice Singer DuMars, even though most American engraved horns use a ‘Florentine liner’ for their engravings vs. a ‘flat graver’, as in the case of these saxophones, the technique to engrave gold plated horns so the underlying silver plate shows through is a trickier technique to pull off, requiring a steady, experienced hand and a light touch.
Upon inspection of these horns, Sherry Huntley commented “When a similar effect of gold plated saxophone with exposed silver is desired this is the method we followed… Anderson Silver Plating would triple sliver plate the instrument before the final finish of gold plating. Using this method ensured the exact desired results.”
Below are examples of a standard graver and a ‘Florentine’ liner, and their subsequent effects on the engraved design, courtesy of Jaice Singer DuMars.
But there is still more that makes these saxophones truly unique. The two C Melody saxophones are sequential serial numbers: 279,915 & 279,916, placing their manufacture, or at least their assembly and sale, around 1937. These serial numbers are very late for C Melody horns. Conn all but stopped production of C Melody horns around 1930, and although they did continue to sell a handful after 1930, we have not yet identified any as late as these.
Although these are very close to the last C Melody saxophones ever produced by Conn, they are not the last known, which stands at serial number 284,937.
Experimental Prototype C Melody
There was still one more saxophone contained within the Billy True collection Paul acquired. A much older Conn New Wonder I C-Melody, serial number 113,711. This saxophone was Billy’s experimental prototype. A testbed for mounting brackets, pull line & pulley mechanism designs. One can see from the images below that all non-used tone holes were soldered shut, giving Billy the ability to focus on perfecting the design of the middle saxophone in his one-man saxophone section setup. The rest of the saxophone modifications look very close to the final designs used. Neither gold plated nor adorned with the high-end artistic engraving of the other three, this saxophone may in fact be the most significant of them all, in that it was where the genius of Billy True’s ideas & concepts first became reality for his one-man saxophone section.
A very special thank you to Paul Cohen for sharing this incredible Conn saxohphone treasure to the world through Connsortia.
Billy True’s saxophones are on display in Paul Cohen’s saxophone collection museum. Visitors welcomed to see, inspect and try the setup via appointment with Paul.
You can contact him at paulcohen.saxo@gmail.com
Also visit Paul’s website totheforepublishers.com
To the Fore Publishers offers a catalogue of exceptional music for saxophonists of all levels. Our titles range from music for the high school saxophone quartet to repertoire for the discriminating professional concert artist. Many are lost, unknown or unavailable works by well-known American and European composers that are now published for the first time. Included are original works for saxophone by Henry Cowell, Percy Grainger, Elie Siegmeister, Charles Martin Loeffler, John Phillip Sousa, Calvin Hampton and Nicholas Flagello.
Photographs of Billy True’s One Man Saxophone Section by Catalina Castells
A CONNsortia collaboration by John Eaton & Paul Cohen

































































































